您当前的位置:成果库 > 一种高温碳化硅功率器件封装结构及其制备方法
基本信息
- 成果类型 高等院校
- 委托机构 西安电子科技大学
- 成果持有方 西安电子科技大学
- 行业领域 电子元器件
- 项目名称 一种高温碳化硅功率器件封装结构及其制备方法
- 知识产权 发明专利
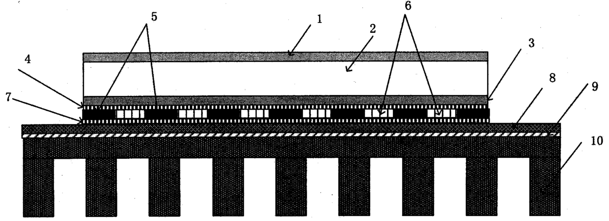
- 项目简介 本发明实施例提供了一种高温碳化硅功率器件封装结构及制备方法,涉及半导体器件封装领域,可以有效地增强器件寿命,提高器件稳定性,同时降低成本,简化工艺。所述封装结构包括:金属正电极(1)、金属负电极(3)以及所述金属正电极(1)与所述金属负电极(3)之间的碳化硅功率器件(2),粘结层上层导热金属层(4),粘结层下层导热金属层(7),封装基板(8),粘结所述金属负电极(3)与所述封装基板(8)的粘结层(5),在所述粘结层(5)中形成的多个导热窗口(6),多个所述导热窗口(6)在所述粘结层(5)中分布成阵列结构;散热器(10)以及与封装基板(8)之间的粘合层(9)。封装外壳,以及外部引脚。
-
交易信息
- 意向交易额 面议
- 挂牌时间 2017/12/29
- 委托机构 西安电子科技大学
- 联系人姓名 王小刚
- 联系人电话 15802954800
- 联系人邮箱 745490733@qq.com
- 分享至:


396
2018/08/20
咨询成果
发布成果